裝企選擇使用ERP管理軟件的原因主要包括提高工作效率、優化業務流程、提升決策支持能力和提升客戶服務水平。這些原因不僅能夠幫助裝企提升運營效率和質量,還能夠提高企業的競爭力和市場份額。因此,裝企選擇使用ERP管理軟件是現代企業管理的必然趨勢。
裝修ERP系統?在裝修行業中具有重要的作用。它可以提高企業的運營效率、提升服務質量、提高管理水平,同時也有助于推動裝修行業的發展。因此,裝修企業應當重視裝修ERP系統的引入和應用,以適應行業的變革和發展需求。
裝企ERP管理軟件可以幫助企業實現信息集中管理、優化工作流程、自動化處理日常事務以及提供數據分析和業績評估功能。通過合理利用裝企ERP管理軟件,企業可以提高辦公效率,降低成本,增強競爭力。因此,裝企ERP管理軟件無疑是裝飾裝修企業管理的不可或缺的工具。
裝企ERP系統能夠解決項目管理、客戶關系管理、財務管理、材料管理等多個方面的問題。對于裝修企業而言,引入ERP系統是實現管理現代化和提升競爭力的重要途徑之一。
美佳裝修管理軟件?作為針對裝修企業開發的管理系統,有效解決裝修公司進店難、簽單難、報價亂、財務煩、項目亂、沒利潤等問題。管理流程自定義,PC端手機端無縫對接隨時隨地移動辦公!
裝企ERP管理軟件在企業的運營和管理中發揮著至關重要的作用。它不僅能夠實現資源的優化配置和提升運營效率,還能夠為企業的戰略決策提供有力支持。因此,裝修企業應積極引進和應用ERP管理軟件,以適應信息化時代的發展需求,實現企業的可持續發展。
美佳云裝ERP系統涵蓋企業各個部門的需求,包括業務、設計、工程、材料、財務、人力資源等;使用簡單,員工能夠快速上手并高效地完成任務;可以根據企業的特定需求進行定制和配置,以滿足業務流程的要求;與手機端及公眾號無縫銜接,處理工作更及時;同時擁有強大的報告和分析工具,幫助企業管理層做出決策并優化業務流程。
美佳云裝ERP就是把線下繁雜的流程轉化為線上流程管理,通過系統將每個環節自動銜接并進行智能化提醒,讓工作效率大大提高。
裝企ERP系統是一款專為裝飾裝修企業打造的管理軟件,具有高度定制化、全面功能覆蓋、強大數據分析能力、靈活易用的界面設計以及安全可靠等特點。通過使用裝企ERP系統,裝飾裝修企業能夠提高管理效率、降低成本、優化業務流程,從而獲得更好的經營效果。
裝企ERP管理軟件主要面向裝飾行業企業,提供專門的解決方案;釘釘和飛書則廣泛適用于各行各業的企業,提供企業級協作工具。企業可以根據自身的需求選擇適合自己的軟件或工具,以提升企業的管理效率和競爭力。 裝企ERP管理軟件主要面向裝飾行業企業,提供專門的解決方案;釘釘和飛書則廣泛適用于各行各業的企業,提供企業級協作工具。企業可以根據自身的需求選擇適合自己的軟件或工具,以提升企業的管理效率和競爭力。
使用裝修管理軟件管理數據文件具有集中管理、提高工作效率、增強數據安全性等多個優點。隨著數字化管理的逐漸普及,相信越來越多的裝修企業會選擇使用管理軟件來管理數據文件,提升管理水平和競爭力。
互聯網時代,企業辦公不再拘泥于傳統的線下辦公流程,越來越多的大小企業選擇借助辦公軟件來輔助辦公,既能優化辦公的流程,實現無紙化便捷辦公,還可以減少管理成本支出。那么作為裝修企業應該如何來選擇一款ERP管理軟件呢?
通過合理利用裝企ERP系統的功能和優勢,可以提升簽單轉化率,優化銷售流程,提高工作效率,增加銷售額。
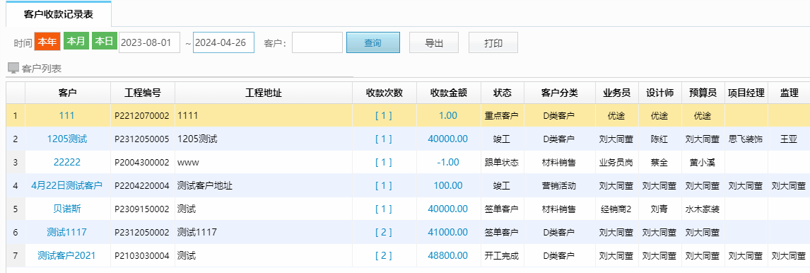
美佳云裝ERP系統是專為裝修企業定制一款管理軟件。主要囊括了營銷管理、設計預算、工程管理、財務管理、材料管理5個主要功能。為裝企解決日常辦公難題,提高辦公效率減少管理成本支出。
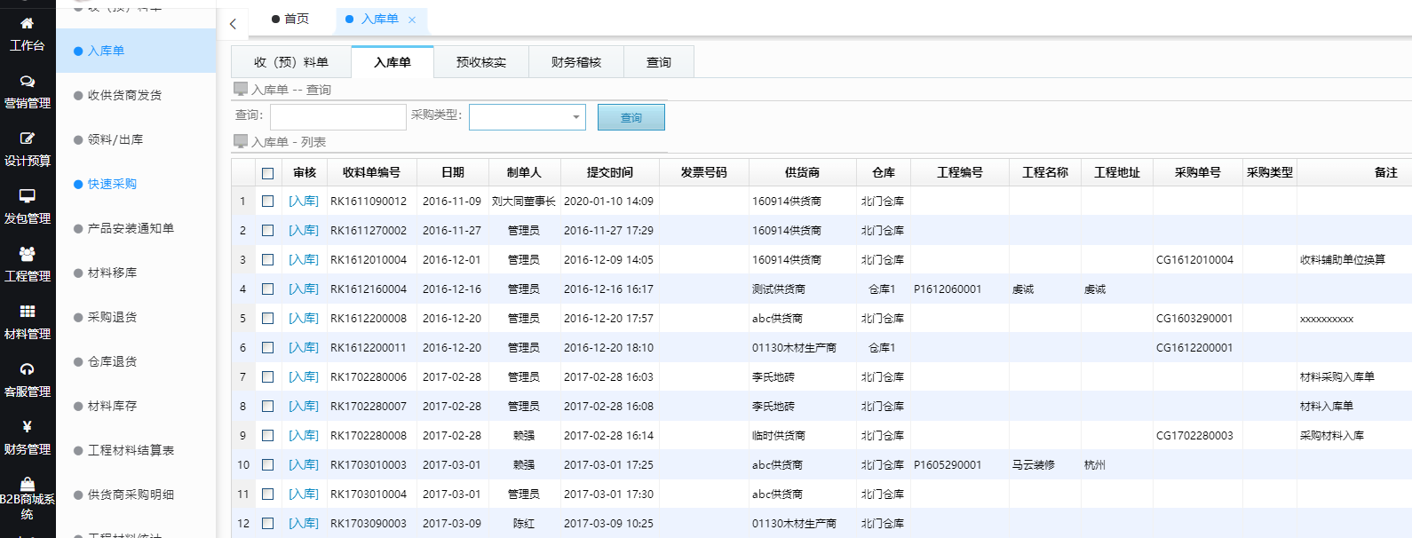
裝修管理軟件材料進銷存管理解決了裝修公司與供貨商之間的采買,提高辦公效率,控制成本,保障數據精準,同時也實現了規范管理,避免不必要的成本支出。為裝修公司既提高了辦公效率也降低了人力成本與費用成本。
ERP系統中的預算報價較傳統報價方式更加簡單和精準,使用ERP系統進行預算報價也可以保證設計師在做預算報價過程中更加規范化和高效化。美佳ERP管理軟件的設計預算報價功能充分契合裝企報價需求,將大家的辦公需求放在首位,簡單易上手。
美佳云裝ERP幫助裝企更好地管理施工進度,把控施工質量,更高效地解決管理過程的問題。
工程成本分析可以讓管理人員更清楚地了解工程的成本情況,可以有效地進行成本管控,并為公司的決策提供有力的數據支持。
通過ERP系統制定施工計劃,方便快捷,計劃清晰明了,后期施工進度管控更簡單。
裝企ERP系統是現代企業管理中不可或缺的一部分,它可以提高企業的管理水平和效率,幫助企業降低成本、提高質量、增強市場競爭力。
關注我們
最新動態
新浪微博 交流互動
新浪微博
交流互動
地址:四川省成都市金牛區韋家碾一路118號紅星國際廣場B座1230 電話:028-85565308